皆さんは**「サグ出し」**ちゃんとしてます?
僕なんかは少しでも違和感を感じたらすぐサグ出しするのですが、サグが正しい事も結構あって、自分が下手なだけって事が良くあります笑
「なんだか難しそう…」「プロがやることでしょ?」なんて思われがちですが、実はこれ、サスペンション本来のポテンシャルを引き出すために最も重要で、最初に行うべき儀式なんです!
今回は、走りが劇的に楽しくなる「サグ出し」について、なるべく分かりやすく解説してみます!
1. サグ出しとは?そもそも「サグ」って何?
「サグ(Sag)」を直訳すると、**「たわみ」「沈み込み」**という意味。
バイクにおけるサグ出しとは、**「ライダーが乗った時に、サスペンションがどれくらい沈むかを調整すること」**を指します。
サスペンションは、一定の沈み込みがある状態でベストな動きをするように設計されています。つまり、サグ出しはバイクの**「姿勢の初期設定」**なんですね。
逆に考えると、サグが出ていないサスペンションは正常な動きをしないので、何をするにもまずは「サグ出しやった?」からです。
2. なぜサグ出しがそんなに重要なの?
サグが合っていないと、ライディングに様々な影響が出て、本来助けてくれるハズのサスペンションが邪魔をしてしまうんです。
例えばこんな影響が出たりします↓
- サグが多すぎる(沈みすぎ):キャスター角が寝てしまい、曲がりにくい。フロントの接地間が無くなる。
フロントサスペンションの初期の動きが無く、全体的に硬いサスペンションに感じる。 - サグが少なすぎる(突っ張っている):リアタイヤの接地感がなくなり、ハネやすい。
コーナーリング中にフロントタイヤが逃げてしまう。
バッチリ決まると、**「あれ、自分の上手くなったんじゃ!?」**と錯覚するほど、コーナリングがスムーズになり、トラクションもしっかりかかるようになります。コレ結構マジです。
「柔らかいサスペンションが好きだから」「足つきが良くなるから」といってプリロードを抜いていませんか?
それは問題の解決にはなっておらず、乗りにくいバイクを作り出してしまっている可能性があります。
考えてみてください!バイク本体は前後バネの上に乗っているだけなんです。
それに人間の数十キロの体重が乗って加速や減速、コーナーリングをするんですから、バランスが悪いと絶対良くなさそうですよね?
そのバランスを取る作業がサグ出しってやつですね!

3. 「スタティックサグ」と「ライディングサグ」
サグには大きく分けて2つの種類があります。ここが混乱しやすいポイントです!
僕は今でも、サグを出す時に何度も「えーっと...えーっと」と考える事があります笑
- スタティックサグ(空車サグ)ライダーは跨らず「バイクの自重」だけでどれくらい沈んでいるか。まずはコレでスタート地点を決めます。最初の最初にコレですね!
- ライディングサグ(乗車サグ)「装備を含めたライダーが乗った状態」での沈み込み。これで、そのスプリングがライダーに合っているか判断します。
この2点を見比べて適正値を判断します。
例えばTE250のマニュアルに書いてある値で見てみましょう!
スタティックサグ=40mm
ライディングサグ=110mm
4. どんな時にやる?頻度は?
「一度やったら終わり」ではありません!こんな時はチェックのタイミングです。
- 納車直後: まずはここから!
- 体型が変わった時: 「最近ちょっと痩せた(太った)かも…」という時は数値が変わります。
- 定期チェック: スプリングも馴染んでくるので、1シーズンに1回くらいは確認するのが理想です。
5. 正しいサグの出し方と準備する道具
準備するものはたったこれだけ!
【用意するもの】
- メジャー(巻尺)
- バイクスタンド(タイヤが浮くタイプ)
- メモ帳とペン
- 手伝ってくれる友人(一人でも出来るけど、いたら最高!)
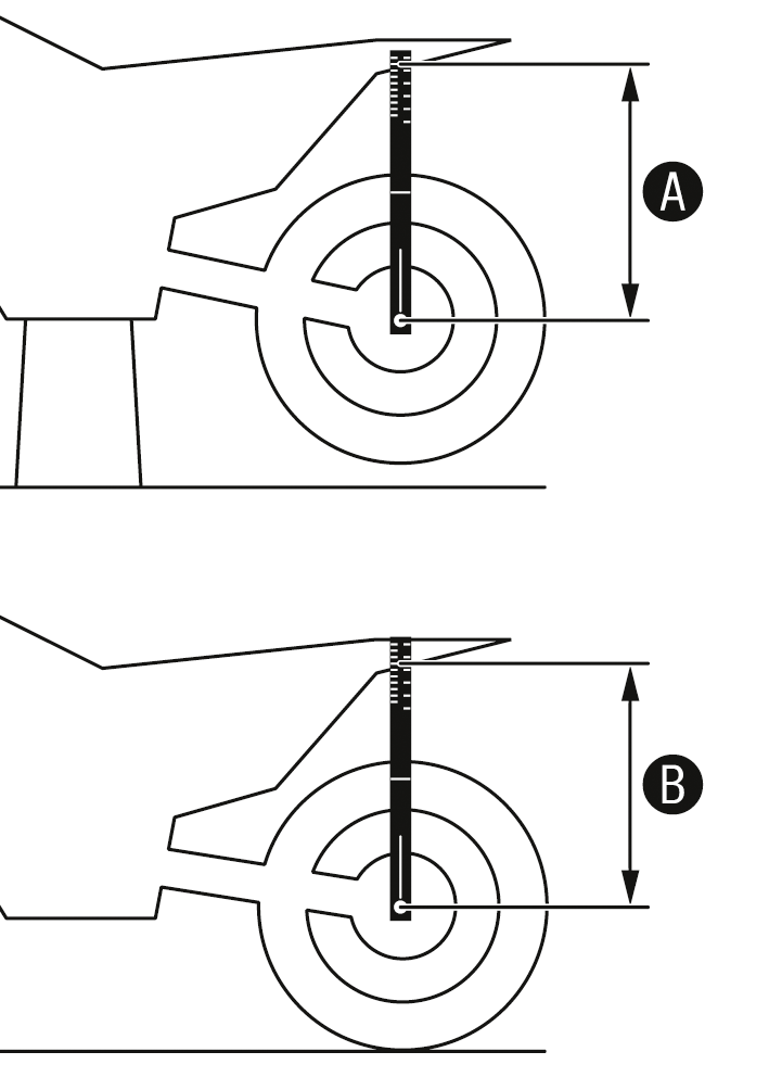
ステップ1:全伸長を測る
スタンドを立ててリアタイヤを浮かせ、アクスルシャフトからフェンダーの適当な印までを測ります(数値A)。
ステップ2:沈み込みを測る
バイクを地面に降ろし、ステップ1と同じ箇所を測ります(数値B)。
このAマイナスBがスタティックサグです!オフロードバイクだと35mm前後が推奨値です。

ステップ3:ライディングサグの出し方
先ほどのスタティックサグを出した後で、ライダーがフル装備(それに近い状態で)で乗車します。
その状態で先ほどの数値Bと同じ場所を測ります。それが数値Cとしましょう。
そして数値Aから数値Cをマイナスした数値がライディングサグです!
これをオーナーズマニュアルに記載されている推奨値に収まるよう、リアショックのプリロードリングを回して調整します。(車種によりますが、大体105~110ぐらいっすね)
まとめ:最高のハスクバーナライフを!
サグ出しは、愛車との対話の第一歩。
自分の体重に合わせてパーソナライズされたハスクバーナは、今まで以上に軽快で、最高の相棒になってくれるはずです!
「自分一人でやるのは不安…」「数値が合っているか見てほしい」という方は、ぜひ当店へお気軽にご相談ください。プロのスタッフがバッチリ調整のお手伝いをいたします!

